1.成果名称及简介
(1)成果名称:一种用于巨大黑色素痣的减张装置
(2)成果关键词:整形外科、皮肤减张、巨大黑色素痣、非植入设备、渐进牵张、个体化调控
(3)成果简介:本成果针对婴幼儿巨大黑色素痣多阶段切除术中组织张力大、传统植入扩张器不适用等痛点,创新性提出一种非植入式、外置可穿戴的皮肤减张装置。装置由固定垫、限位带及调控组件组成,能够在术前准备期及术后间隔期,对病灶及其周边区域实施主动牵张与张力调控,有效限制病灶扩张趋势,促进周边皮肤松弛,为后续分次切除提供更优组织条件。装置具备良好皮肤兼容性、安全性及个体适配性,特别适用于皮肤娇嫩、骨骼发育中的婴幼儿群体。

图1

图2

图3

图4

图5
附图说明
图1为本实用新型用于巨大黑色素痣的减张装置实施例的结构示意图。
图2为实施例中保护壳体和卡通壳体分离状态的结构示意图。
图3为实施例图2中A处的结构细节放大示意图。
图4为实施例中带体、转轮和转轴的连接关系的结构示意图。
图5为实施例中调整组件的部分剖面结构示意图。
附图标记:1、固定垫;10、垫体;2、限位带;20、带体;3、调整组件;30、调整座;31、转轮;32、转轴;33、控制轴;34、控制钮;35、穿槽;4、锁定件;40、活动座;41、锁定座;42、锁杆;43、锁槽;44、锁钮;45、复位件;5、刻度标识;6、指向标识;7、保护壳体;70、操作窗;71、密封盖;8、卡通壳体。
具体实施方式
下面结合附图对本实用新型做进一步描述。
如图1至5所示的用于巨大黑色素痣的减张装置,包括固定垫1、限位带2和调整组件3。
其中,固定垫1分为两个对称设置的垫体10,两个垫体10用于贴合病变区域两侧皮肤,限位带2连接于两个垫体10之间,调整组件3设于两个垫体10之间以改变限位带2的有效长度。
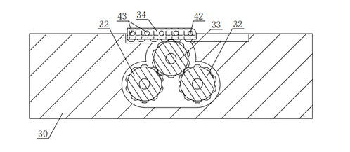
调整组件3包括调整座30、转轮31、转轴32、控制轴33和控制钮34。
转轴32和转轮31均设有两个,转轮31固定设于转轴32的部分外周面,转轮31、转轴32和控制轴33均旋转设置于调整座30中,调整座30位于两个垫体10之间,限位带2分为两个带体20,调整座30的两侧设有可供带体20进出的穿槽35,带体20的两端分别连接转轮31和垫体10,控制钮34活动设于调整座30上,且控制轴33同时与控制钮34、两个转轮31啮合连接,控制钮34活动以同时驱使两个转轮31收放两侧带体20,上文的限位带2的有效长度即指带体20位于调整座30外的部分长度。
为实现对调整后状态的定位效果,调整组件3还包括用于限制控制钮34当前状态的锁定件4。锁定件4包括活动座40、锁定座41、锁杆42、锁槽43和锁钮44。
活动座40和锁定座41设置于调整座30表面,且活动座40和锁定座41分别对称设置于控制钮34活动路径的两侧,锁杆42通过复位件45与活动座40相连,且锁钮44与锁杆42相连,控制钮34设有多个锁槽43,锁槽43贯穿控制钮34侧壁设置,且多个锁槽43沿控制钮34的长度方向均匀间隔分布,锁定座41朝向控制钮34的一侧开设有与锁杆42相适应的定位槽。
其中复位件45可采用弹性条或复位弹簧中的任意一种。
为便于实现力度可视化和进一步地调整力度,调整座30对应控制钮34活动路径的位置设有刻度标识5,控制钮34的端部设有指向标识6,控制钮34每位移单位角度对应转轮31的旋转角度范围为0.5-5度。
且为降低患儿随便玩弄的风险以及便于医护人员快速查看固定状态,还包括有保护壳体7,保护壳体7可拆卸连接于调整座30表面,且保护层为透明设置。
同时为便于临时调整减张力度,保护壳体7对应控制钮34和锁定件4的位置设置有操作窗70,且操作窗70活动连接有密封盖71。
对于不配合的患儿,保护壳体7外侧可拆卸连接有卡通壳体8或卡通贴片。
在本实施例中,保护壳体7,卡通壳体8均为卡接结构设计,密封盖71采用磁吸的扣接方式。
另外为保护患儿的皮肤,固定垫1朝向皮肤的一侧为水凝胶或医用压敏胶带。
此外为降低贴附位置皮肤的过敏风险以及不适感,固定垫1设有多个透气孔结构。
在使用过程中,卡通壳体8或保护壳体7可单独卡接固定于调整座30上,也可以是卡通壳体8、保护壳体7依次卡接固定于调整座30上,在将两个垫体10分别对称贴附于黑色素痣的两侧皮肤表面后,控制钮34带有指向标识6的端部对应“0”的刻度标识5。接着,若需要调整减张力度,翻转打开密封盖71,使得操作窗70内的控制钮34和锁定件4暴露可操作,医护人员拨动锁钮44带动复位件45伸缩,且使得锁杆42脱离定位槽以及脱离靠近0刻度线的锁槽43,推动控制钮34位移,根据指向标识6对应的不同位置的刻度以及对应的减压程度(可通过设置产品说明书将刻度与对应的减压程度进行预先明确),将控制钮34调整至对应位置的过程中,由于控制钮34、控制轴33和两个转轴32的啮合关系,带动两个转轴32同时转动,且由于转轮31与转轴32的连接关系以及转轴32与带体20的连接关系,两处转轮31同时带动收卷两处带体20,增加减张力度,使得黑色素痣两侧皮肤受到牵拉,阻止病灶扩张,促进周边皮肤牵拉松弛。待释放锁钮44时可使锁杆42穿过锁槽43且锁杆42端部嵌入定位槽中,实现对调整后状态的锁定目的。
2.知识产权情况
(1)知识产权类型:
☑专利 □软著 □技术秘密 □植物新品种 □集成电路布图设计 □其他:
(2)具体清单:成果名称:一种用于巨大黑色素痣的减张装置,专利类型:实用新型,专利号:申请中,申请时间:2025年7月,授权时间:待定,发明人:王发亮 杨明 赵雄,权利人:浙江大学医学院附属儿童医院
3.技术领域/行业分类
儿外科、整形外科、医疗器械、康复辅助器具
4.行业/产业现状和专利布局
当前,婴幼儿巨大黑色素痣的标准治疗主要依赖组织扩张器,但该技术存在高创伤性、感染风险、术后护理负担大等问题,特别不适用于婴幼儿薄弱皮肤和早期骨骼发育期。市场上尚无可覆盖病灶区域、可穿戴、可调张力的非植入式减张装置,因此该专利技术具备前沿性和空白填补价值。
5.创新链/产业链上下游的校内外其他科研团队
(1)上游:医用高分子材料、儿童皮肤力学研究团队、医学工程类企业
(2)下游:儿童医院整形外科、医疗器械公司
6.技术/行业痛点
缺乏非植入式、可持续减张方案、无法覆盖病灶区域本体进行控制、张力控制不可调节,存在过度剪切或力不足风险、婴幼儿皮肤薄弱,常规设备不适配
7.解决方案与技术优势
技术优势:非植入式结构,避免手术植入相关风险;多点调控系统,实现可视化张力调节(带刻度与锁定机制);兼容婴幼儿皮肤:固定垫采用水凝胶/医用压敏胶+透气设计;可加装卡通外壳,提升儿童配合度;术前与术中间隔期均可使用,主动牵引促进正常皮肤松弛。
核心创新点:适用于GCMN(巨大先天性黑痣)术前减张的新型结构;独创控制钮 + 双转轮联动机制,实现张力精确调节;双垫体结构实现病灶两侧均匀固定与牵拉;可穿戴设计+透明保护壳体+密封盖,安全便捷。
8.技术成熟度
☑构思 ☑研发 ☑样品 ☑小试 □中试 □产业化、推广 □其他:
9.应用前景
(1)适用领域:儿童整形外科、皮肤外科、康复医疗
(2)目标客户:儿童医院、综合医院整形烧伤科
(3)消费群体:巨大黑色素痣患儿家庭
(4)商业计划及市场前景:预计可快速形成多型尺寸产品线,面向儿童皮肤病变术前术中管理市场,填补非植入控张领域空白,具备显著市场差异化和推广优势,具转化为产品包或可穿戴医疗器械的潜力。
10.合作转化方式
☑普通许可 ☑排他许可 □独占许可 ☑转让 ☑作价入股
☑技术开发 ☑技术咨询 ☑技术服务 □其他:
11.意向合作方
☑国有企业 ☑上市公司 ☑行业龙头企业 □其他:
12.意向合作金额
□10万—50万 ☑50万—100万 ☑100万—500万
□500万—1000万 □1000万以上 □其他金额: □ 面议
13.科研团队
(1)项目负责人:姓名 王发亮 ,职务职级 副主任医师
(2)主要成员:姓名 杨明 ,职务职级 主治医师 ;姓名 赵雄 ,职务职级 主任医师
(3)科研团队的简介:
依托单位:浙江大学医学院附属儿童医院
所在科室:烧伤整形外科
研究方向:先天性皮肤病变手术干预、儿童外科创新器械研发
14.联系方式
浙大工研院成果转化服务中心,0571-88982927。