
科技成果推介
-
成果推介 | 一种胃管防拔定位器
查看详情2025.11.17 -
成果推介 | 简易一次性枕套
查看详情2025.11.17 -
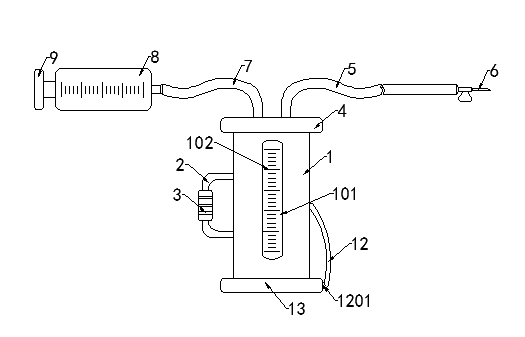
成果推介 | 尿液采集器
查看详情2025.11.17 -
成果推介 | FRP-钢筋混凝土组合配置减损增韧装配式结构技术
查看详情2025.11.11 -
成果推介 | 装配式混凝土框架结构虚拟预拼装技术
查看详情2025.11.11 -
成果推介 | 柱全截面隔板节点形式混合框架结构体系
查看详情2025.11.11 -
成果推介 | 装配式混凝土框架-剪力墙拆分拼装结构和拼装连接方法
查看详情2025.10.23 -
成果推介 | 磁感式混凝土结构钢筋锈蚀率定量化监测系统
查看详情2025.10.23 -
成果推介 | SpecVLM(无损加速视频理解大模型推理技术)
查看详情2025.10.23 -
成果推介 | 高耐热高透明共聚酯合成技术
查看详情2025.10.23 -
成果推介 | 生物基可生物降解PBST共聚酯合成与改性技术
查看详情2025.10.23 -
成果推介 | 遥爪型二烯类液体橡胶系列产品的产业化关键技术
查看详情2025.10.23 -
成果推介 | 环氧化二烯类橡胶的工业合成技术
查看详情2025.10.23 -
成果推介 | 基于生物大分子层析分离的琼脂糖微球制备技术
查看详情2025.10.22
















