1.成果名称及简介
(1)成果名称:一种胃管防拔定位器
(2)成果关键词:胃管,橡胶软管,定位器,魔术贴
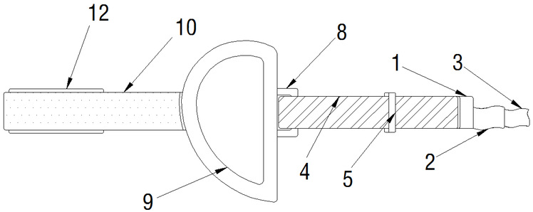
(3)成果简介:胃管防拔定位器,包括弹性块、橡胶软管和预设胃管,所述弹性块的内部固定安装有橡胶软管,且橡胶软管的内部贯穿安装有预设胃管,所述移动块的内部开设有运动槽,且运动槽的内部固定安装有卡条,所述第一对接带的内部固定安装有母魔术贴,且母魔术贴远离第一对接带的一侧粘接有子魔术贴,并且子魔术贴固定安装在第二对接带的内部。该胃管防拔定位器,医护人员先将橡胶软管套设在预设胃管的外侧,最后医护人员通过医用胶带将橡胶软管与预设胃管进行固定粘接,通过调整第一对接带和第二对接带可以使得该定位器对不同患者的头部进行使用,而通过将防压件套设在患者的耳部外侧,可以避免对患者的耳部造成压疮。

2.知识产权情况
(1)知识产权类型:
☑专利 □软著 □技术秘密 □植物新品种 □集成电路布图设计 □其他:
(2)具体清单:
成果名称:一种胃管防拔定位器
专利号:ZL 2022 2 3445285.9
申请时间2022年12月22日
授权时间:2023年05月26日
发明人:陈柯
权利人:浙江大学
3.技术领域/行业分类
医疗卫生
4.行业/产业现状和专利布局
目前临床工作中在对不能自主吞咽的患者进行治疗时,医护人员会将胃管插入到患者的体内,通过胃管向患者的胃部输送必要的水分和食物,医护人员一般直接通过医用胶带将胃管固定在患者的鼻子外侧,在患者出现发汗或者皮肤油脂分泌旺盛时,容易导致胶带与患者的鼻子之间粘接不牢固,容易使得胃管在患者的体内滑动,且会导致对患者耳部进行挤压,长时间使用会导致患者耳部压疮的等问题。目前无相关专利进行改善。
5.技术/行业痛点
在对不能自主吞咽的患者进行治疗时,医护人员会将胃管插入到患者的体内,通过胃管向患者的胃部输送必要的水分和食物,医护人员一般直接通过医用胶带将胃管固定在患者的鼻子外侧,在患者出现发汗或者皮肤油脂分泌旺盛时,容易导致胶带与患者的鼻子之间粘接不牢固,容易使得胃管在患者的体内滑动,因此需要一种对胃管能够进行固定的定位器,就比如:
实用新型公开号为CN217566840U的公开了胃管固定装置及胃管总成,通过第一定位柱可以对固定带进行定位,而在固定带定位之后将胃管插入定位带的内部便可以将胃管进行定位;
在上述文件中,定位带对胃管进行定位之后直接将定位带固定在患者的头部外侧,之后再通过限位件和双孔调节扣对定位带进行限位,而定位带外侧光滑,只通过定位带对胃管进行固定会导致定位带对患者耳部进行挤压,定位带长时间使用会导致患者耳部压疮。
针对上述问题,急需在原有定位器结构的基础上进行创新设计。
6.解决方案与技术优势
与现有技术相比,本实用新型的有益效果是:
1.该胃管防拔定位器,在使用该定位器对预设胃管进行定位的过程中,医护人员先将橡胶软管套设在预设胃管的外侧,之后再滑动移动块调整弹性块与防压件之间的限位带,在限位带调整完成之后将防压件套设在患者的耳部外侧,之后便可以使得母魔术贴与子魔术贴进行粘接连接,从而将定位器固定在患者的头部外侧,最后医护人员通过医用胶带将橡胶软管与预设胃管进行固定粘接,通过调整第一对接带和第二对接带可以使得该定位器对不同患者的头部进行使用,而通过将防压件套设在患者的耳部外侧,可以避免对患者的耳部造成压疮;
2.该胃管防拔定位器,在对预设胃管进行更换的过程中,医护人员将医用胶带拆下之后便可以将预设胃管从橡胶软管和患者的内部取出,从而提高了该定位器使用的便捷性,而限位带、第一对接带和第二对接带均具有抗菌效果,可以在使用的过程中避免间接感染,而在该定位器使用完成之后可以对其进行消毒重复使用,从而节省材料。
7.技术成熟度
☑构思 ☑研发 □样品 □小试 □中试 ☑产业化、推广 □其他:
8.应用前景
(1)适用领域:医疗
(2)目标客户:各医院
(3)消费群体:各医院临床科室需留置胃管的病人
(4)商业计划及市场前景:
a、市场前景:需求明确,增长可期
核心增长动力: 需留置胃管病人数量极大,传统胶带固定易松脱、舒适性差,且易引发皮肤黏膜损伤、非计划拔管等问题,临床对稳定、舒适、安全的新型固定器需求迫切; 政策与行业支持:我国政府高度重视医疗器械产业发展,出台系列扶持政策,为创新型医用耗材提供了良好的政策环境;市场规模与潜力:
全球鼻胃管固定装置市场呈稳步增长态势需求量大,中国作为人口大国,需求量大,随着医疗技术普及和二三线城市及农村地区医疗需求释放,未来需求极大; 产品定位与核心优势: 定位:聚焦高品质、人性化的临床解决方案,主打“高稳定性+高舒适性+易操作性”,覆盖各级医院、诊所及养老院等机构,兼顾普通患者与长期带管、皮肤敏感等特殊群体需求,核心优势:基于专利技术实现差异化,可整合滑动调节结构、安全锁定装置、透气弹性材质等设计,解决传统产品松脱、皮肤损伤、操作繁琐等痛点;创新设计可降低局部压力、分解外来牵引力,同时适配多种管道类型,提升通用性。
9.合作转化方式
☑普通许可 ☑排他许可 ☑独占许可 ☑转让 ☑作价入股
□技术开发 □技术咨询 □技术服务 □其他:
10.意向合作方
☑国有企业 ☑上市公司 ☑行业龙头企业 □其他: 相关私企
11.意向合作金额
□10万—50万 ☑50万—100万 ☑100万—500万
□500万—1000万 □1000万以上 □其他金额: ☑ 面议
12.科研团队
(1)项目负责人:姓名 陈柯 ,职务职级 主管护师
(2)本成果转化的联系老师:姓名: 陈柯 ,邮箱: 283757839@qq.com ,手机/微信: 18758284287