
科技成果推介
-
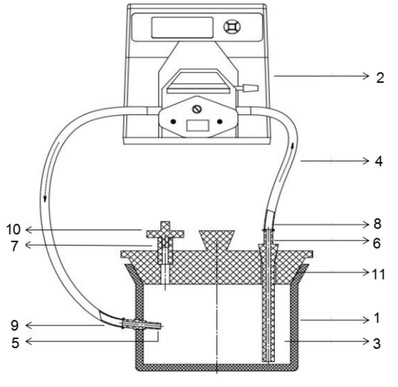
成果推介 | 三维支架循环灌流生物反应器
查看详情2026.01.19 -
成果推介 | 一种含脑类器官的仿生材料及其制备方法和应用
查看详情2026.01.19 -
成果推介 | DLL4细胞因子救治暴发性肝衰竭的应用
查看详情2026.01.19 -
成果推介 | 钇-90蒙脱石微球的研究与产业化开发
查看详情2026.01.12 -
成果推介 | 一种左心室辅助装置植入患者多功能腹带
查看详情2026.01.12 -
成果推介 | 一种基于微电极阵列和脑类器官的认知功能体外模拟方...
查看详情2026.01.12 -
成果推介 | 一种用于模拟慢性应激和降低精神疾病药物研发风险的...
查看详情2026.01.05 -
成果推介 | 一种基于多通道配置统一处理的灵活睡眠分期方法及装...
查看详情2026.01.05 -
成果推介 | 一种以内源性蛋白质分子替代单结构域抗体的嵌合抗原...
查看详情2026.01.05 -
成果推介 | 一种路易小体痴呆动物模型的构建方法和用途
查看详情2025.12.29 -
成果推介 | 具有更强液-液相分离能力及活性的p53变体及其用途
查看详情2025.12.29 -
成果推介 | 一种以内源性蛋白质分子替代单结构域抗体的嵌合抗原...
查看详情2025.12.29 -
成果推介 | 益康唑在抑制抗生素耐药基因质粒的接合转移中的应用
查看详情2025.12.22 -
成果推介 | 一种二酮哌嗪类铁死亡抑制剂及其制备方法和应用
查看详情2025.12.22
















